Ne croyez pas qu’Apple soit une entreprise a but lucratif. Certes, la publication mardi soir (le 02/05/2017) de ses résultats trimestriels a pu faire croire le contraire puisque le groupe de Cupertino y a annoncé une trésorerie de 250 milliards de dollars, plus donc que les réserves cumulées du Royaume-Uni et du Canada. Et ce qui pourrait induire encore plus en erreur est que 90 % de ce montant est placé en dehors des États-Unis à l’abri du fisc américain.
Mais vous feriez fausse route : le but principal d’Apple est de changer la vie de ses clients (« on n’a pas dit qu’on vous l’améliorait, on a dit qu’on vous la changeait »…. J’attends de voir dans vos commentaires à cet article lequel reconnaîtra en premier l’auteur de cette citation!). Et il s’agit de la changer dans tous les domaines, pas seulement dans la haute technologie. D’où bon nombre de brevets de toutes sortes.
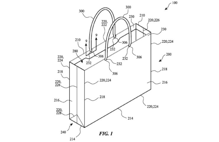
Tenez, vous utilisiez des sacs en papier recyclé? Petits veinards, Apple a pensé à vous et révolutionne les sacs en papier recyclé. Hein? Quand même !
**** L‘OVNI du lundi, épisode 4 : un sac papier Apple ****
Apple a donc déposé une demande de brevet concernant un sac en papier recyclé révolutionnaire. Avec la modestie que seuls les génies peuvent se permettre, il a sobrement intitulé cette invention « Bag » (c’est-à-dire « Sac ») alors que votre vie en sera bouleversée pour toujours. Non, ce n’est pas un sac en papier connecté (ouf!). Ce sac en papier recyclé est différent parce qu’il est fait avec au moins 60% de papier recyclé.
Ne riez pas : on faisait déjà du papier recyclé à 40%, à 60%, à 80% mais personne n’avait pensé à en indiquer le pourcentage dans son brevet. Et puis le symbole d’Apple, c’est cette couleur blanche justifiant largement le prix de leurs GSM donc le brevet introduit aussi cette innovation mondiale : un sac en papier blanc. Et ce n’est pas tout : Apple a trouvé l’arme fatale pour renforcer son sac, utiliser des… renforts.
Vous pensez que j’exagère, hommes de peu de foi, donc lisez dans l’original accessible via le présent lien la revendication principale de la demande de brevet : <> ou, traduit en français : <>. Oui, oui, c’est bien la revendication complète, je n’ai rien coupé, vous pouvez vérifier.

Dans ce document assez long à lire, Apple décrit son sac avec force détails et avec des schémas explicatifs détaillant la réalisation d’un sac en papier parfaitement banal. Et l’exercice dépasse les limites de l’absurde quand le gourou de la « modernitude » nous explique ce qui l’a motivé pour mettre au point cette invention. Apple écrit ainsi que « les sacs vendus au détail peuvent être utilisés pour contenir les articles achetés dans un magasin de vente au détail », que « le sac peut être constitué d’un contenant et d’une poignée » et même qu’un sac qu’on ne jette pas tout de suite parce qu’il est plus résistant permet de jeter moins de sacs.
J’arrête, vous avez compris que cette prose était une mine d’or. Ce qu’on peut espérer est qu’Apple, qui dépose plus de 2000 brevets par an, systématiquement scrutés et décortiqués par des spécialistes de la high tech espérant deviner ainsi quelles innovations il s’apprête à introduire dans ses iPhone, voulait juste s’offrir un petit plaisir en prenant ces paparazzis de la Propriété Industrielle à leur propre piège.
Parce que, sinon, c’est grave…
En savoir plus sur Invention - Europe
Abonnez-vous pour recevoir les derniers articles par e-mail.

Bonjour, j’apprécie beaucoup votre blog, mais là, je suis un peu déçu. Cet article s’apparente à l’anti… primaire ; il s’agit d’une demande de brevet, que l’on peut trouver en 3 clics sur google patent: US20160264304 ; et non pas d’un brevet délivré. Cette demande en soit est un non-évèvement.
Ca me rappelle tout un foin qu’il y avait eu en 2003-2004 lorsqu’Apple a obtenu un brevet sur le « double clic » et tous les cris d’orfraie du type « il faudra maintenant payer Apple pour chaque double-clic » ; alors qu’en réalité ce qui était breveté, en revendication principale, était un processus complexe en plusieurs étapes.
Enfin bref, asseyez de vérifier un peu vos infos, surtout lorsqu’elles ont un fond de dénigrement.
NB : je ne travaille pas pour la firme à la pomme ; mais j’aime les vraies pommes
J’aimeJ’aime
Bonjour James,
Vous avez triplement raison : (1) c’est une demande et non une publication (2) la situation est très comparable à l’affaire du double-clic (3) c’est un non-événement.
Mais c’est très exactement pour cela que l’ensemble de cet article est rédigé sur un ton moqueur et désinvolte : nous ne dénonçons pas un scandale, nous rions d’une démarche grotesque. Il n’y aurait pas eu ce malentendu si vous aviez noté que l’article est rangé dans la catégorie « humour » avec le mot-clef « absurde », comme tous les articles du lundi.
Certes, on ne s’attend pas à de l’humour sur un blog d’inventeurs. Mais c’est justement pour cela que je passe beaucoup de temps à rédiger ce type d’articles pour combler modestement cette lacune.
Votre remarque est utile, je remplace tout de suite « brevet » par « demande de brevet » pour éviter tout malentendu et je vous remercie d’avoir pris le soin de l’exprimer. De votre côté, faites-nous plaisir en évitant les jugements hâtifs tels que « vérifiez un peu vos infos ».
J’aimeJ’aime