La présente invention est une nouvelle approche basée sur un piégeage progressif des rayons solaires permettant un rendement de conversion de l’énergie solaire directe en énergie électrique jusqu’à 60%, soit une performance :
– 5 fois meilleure que celle du solaire photovoltaïque,
– 2 fois meilleure que celle du solaire thermo-électrique actuel,
– voisine de celle des meilleures centrales thermiques.
1. Principe de fonctionnement


Principe animé :


2. Conversion en chaleur
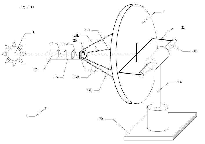
Les parois (9,10,16A,16B) de l’enceinte (ECE) imposent, aussi bien aux rayons captés que ré-émis par le rayonnement thermique, des dizaines, voire centaines de réflexions absorbantes avant d’avoir la possibilité géométrique de sortir. Typiquement, ces parois peuvent être réalisées en acier ou en matériaux réfractaires lisses.
C’est grâce à ces centaines de réflexions partiellement absorbantes que la lumière solaire se convertit progressivement en chaleur à très haute température (plusieurs milliers de °C).
Une machine thermodynamique (32) peut être montée au contact de la cavité (6) pour en extraire la chaleur afin de produire du travail mécanique avec la source froide constituée par l’atmosphère ou le sol extérieur, selon un cycle moteur thermodynamique de Brayton-Joule, vapeur, Stirling.

3. Dimensions et implantations

La taille des pièges solaires hyperthermiques (1) peut être très variable : toutefois, des miroirs (5) de quelques mètres carrés permettent une captation optimale du flux solaire.
4. Des productions thermiques et électriques dans une très large gamme de puissances
Dans le cadre d’une production électrique de moyenne et haute puissance (> 1 MW), sur la base d’un rendement de 60%, il reste 40% de l’énergie solaire incidente rejetée sous la forme de chaleur. Deux options de cogénération sont envisageables :
– source froide peu refroidie : rejetant un fluide à environ 90°C et plus, permettant l’alimentation en appoint d’un chauffage urbain,
– source froide très refroidie : rejetant un fluide à moins de 25°C permettant de réchauffer gratuitement une serre à vocation agricole toute l’année, ce qui est actuellement impossible selon les saisons et/ou les pays.
Toutefois, le potentiel solaire est très important puisque, avec un rendement de conversion thermoélectrique de 60% et 100 W/m² de puissance solaire moyenne annuelle et tout type d’installation est envisageable :
– une installation semi-industrielle de 100 m² (soit 10x10m) a une puissance moyenne électrique de 6 kW adaptée à un immeuble bien insolé de 15 appartements « 3 pièces »
– une grosse installation de 900 km², en un seul carré de 30 km de côté, ou répartie en plusieurs ilots en mer produirait 54 GW, soit l’équivalent de 54 centrales nucléaires, ce qui doublerait la puissance électrique installée en France.
Ces plates-formes off-shore sont tout à fait envisageables puisqu’elles sont largement maîtrisées depuis des années dans le cadre d’extractions pétrolières et que l’électricité produite peut transiter par câble sous-marin.
Pour une installation à usage domestique, un ou plusieurs pièges solaires sont implantables sur les toits des immeubles ou des maisons. Les puissances sont alors beaucoup plus faibles, mais amplement suffisantes pour couvrir plus de la moitié des besoins électriques, voire la totalité. Sur la base de 3500 kWh annuels par foyer, cela représente une puissance moyenne de 400 W, ce qui correspond à la production de 4 paraboles de 150 cm de diamètre, de rendement 60% et insolées à 100 W/m² en moyenne.
La cogénération domestrique est aussi envisageable en utilisant l’air de la maison, ou son eau « chaude » comme source froide. La maison dispose dans ce cas de 2333 kWh thermiques d’appoint et de 3500 kWh électriques par année.
5. Des productions variées pour les vecteurs énergétiques du XXIème siècle
Les laboratoires et installations expérimentales regorgent d’idées sur des vecteurs énergétiques écologiques : hydrogène, carburants issus de la thermolyse de la biomasse, thermolyse de l’eau, biocarburants, stockage sur métaux spécifiques, réactions de Fischer Tropsch, « biomass or coal to liquid » (BTL, CTL)…
Le PHRSD , constitue une solution éminemment pertinente pour cette problématique :
– technologiquement, car il offre une énergie thermique de haute qualité et d’excellents rendements de conversion thermoélectriques et car tous ses composants sont actuellement bien connus, expérimentés et donc maîtrisés.
– industriellement, car il s’appuie sur le potentiel solaire absolument gigantesque à l’échelle des besoins anthropiques
– écologiquement, car l’énergie solaire inonde des millions de km² totalement dévalorisés actuellement ; l’exploitation de cette énergie dans des zones désertiques, rocheuses, ou infertiles a une incidence très faible, voire nulle, sur l’écosystème puisqu’il y est parfois totalement absent.
Le PHRSD peut être adapté à la thermolyse haute température comme présenté ci-après sur la base d’un four solaire bi cavités.


Précisions, documentations complémentaires : sycomoreen.free.fr, rubrique « Solaire thermoélectrique ».
En savoir plus sur Invention - Europe
Abonnez-vous pour recevoir les derniers articles par e-mail.
